Sonda
Co zmienił byś w naszym sklepie ?
Produkt dnia
Producenci
Zaloguj się
Nie pamiętasz hasła? Zarejestruj się
Witamy w naszym sklepie

Adres mail: sklep.deltamoto@gmail.com

Właściciel sklepu: Jerzy Barciński

Tel: +31 659 044 777

Tel:+48 660 145 930

Molenweideplein 76

3620 Lanaken (BE)

NIP/VAT: BE0769532969

Uwaga: Ceny wymienione przy produktach to ceny NETTO. Cena ta odnosi się do osób prawnych i fizycznych posiadających aktywny NIP unijny. Pozostałym klientom doliczamy do ceny NETTO podatek VAT/BTW w wysokości 21% (VAT belgijski).

 

 

 

Zawiesie klamrowe do wciągników 3000 kg--BC3T

Wysyłka w: 14 dni
Dostawa: Cena nie zawiera ewentualnych kosztów płatności sprawdź formy dostawy
Cena: 364,00 zł

Cena regularna:

364.00
ilość szt.

towar niedostępny

dodaj do przechowalni
Ocena: 0
Producent: Torso
Kod produktu: BC3T

Opis

Zawiesie klamrowe do wciągników 3000 kg

Możliwość szybkiego montażu do różnego rodzaju profili konstrukcyjnych. Zakleszczenie na profilu następuje za pomocą śruby rzymskiej. Pracuje zarówno w poziomie, jak i w pionie (podnoszenie). Nadaje się do współpracy z wciągnikami łańcuchowymi

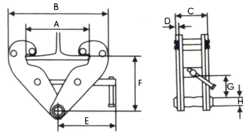
Opis wymiarów podanych na rysunku:

Nośność:

Szerokość:

Maks. A:

Min. /maks. B:

C:

D:

E:

Min. / maks. F:

G:

H:

Waga brutto:

Uwaga:

3000 kg

80 – 320 mm

354 mm

235 / 490 mm

103 mm

8 mm

260 mm

140 / 225 mm

45 mm

24 mm

10,5 kg

Cena nie obejmuje kosztów wysyłki!

 

Koszty dostawy Cena nie zawiera ewentualnych kosztów płatności

Kraj wysyłki:
do góry
Sklep jest w trybie podglądu
Pokaż pełną wersję strony
Sklep internetowy Shoper.pl