Sonda
Co zmienił byś w naszym sklepie ?
Produkt dnia
Producenci
Zaloguj się
Nie pamiętasz hasła? Zarejestruj się
Witamy w naszym sklepie

Adres mail: sklep.deltamoto@gmail.com

Właściciel sklepu: Jerzy Barciński

Tel: +31 659 044 777

Tel:+48 660 145 930

Molenweideplein 76

3620 Lanaken (BE)

NIP/VAT: BE0769532969

Uwaga: Ceny wymienione przy produktach to ceny NETTO. Cena ta odnosi się do osób prawnych i fizycznych posiadających aktywny NIP unijny. Pozostałym klientom doliczamy do ceny NETTO podatek VAT/BTW w wysokości 21% (VAT belgijski).

 

 

 

Zawiesie klamrowe do wciągników 1000 kg-BC1T

Wysyłka w: 14 dni
Dostawa: Cena nie zawiera ewentualnych kosztów płatności sprawdź formy dostawy
Cena: 172,00 zł

Cena regularna:

172.00
ilość szt.

towar niedostępny

dodaj do przechowalni
Ocena: 0
Producent: Torso
Kod produktu: BC1T

Opis

Zawiesie klamrowe do wciągników 1000 kg

Możliwość szybkiego montażu do różnego rodzaju profili konstrukcyjnych. Zakleszczenie na profilu następuje za pomocą śruby rzymskiej. Pracuje zarówno w poziomie, jak i w pionie (podnoszenie). Nadaje się do współpracy z wciągnikami łańcuchowymi

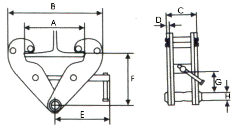
Opis wymiarów podanych na rysunku:

Nośność:

Szerokość:

Maks. A:

Min. /maks. B:

C:

D:

E:

Min. / maks. F:

G:

H:

Waga brutto:

Uwaga:

1000 kg

75 – 220 mm

260 mm

180 / 360 mm

64 mm

5 mm

215 mm

102/155 mm

25 mm

22 mm

4,8 kg

Cena nie obejmuje kosztów wysyłki!

Koszty dostawy Cena nie zawiera ewentualnych kosztów płatności

Kraj wysyłki:
do góry
Sklep jest w trybie podglądu
Pokaż pełną wersję strony
Sklep internetowy Shoper.pl